item:
Сайт работает в тестовом режиме
ДОМКРАТ ГИДРАВЛИЧЕСКИЙ ДГ-50
ДОМКРАТ ГИДРАВЛИЧЕСКИЙ ДГ-50 ДОМКРАТ ГИДРАВЛИЧЕСКИЙ ДГ-50

Категория: Домкраты путевые

ДОМКРАТ ГИДРАВЛИЧЕСКИЙ ДГ-50

Домкрат гидравлический ДГ-50 - настоящий домкратный чемпион! Идеален для подъема любого груза и техники, незаменим при любых путевых и строительных работах, где требуется поднятие большого веса. Прекрасное сочетание между компактностью и грузоподъемностью, никаких компромиссов!

Для получения информации о наличии и условиях поставки свяжитесь с нами:
📞 +998 88 566 33 33   |   ✉ remar.tools@gmail.com
← Вернуться в каталог

ТЕХНИЧЕСКИЕ ХАРАКТЕРИСТИКИ ДОМКРАТА ГИДРАВЛИЧЕСКОГО ДГ-50

Грузоподъемность (Max) Рабочий ход поршня Величина подъема
50 т не менее 100 мм 100 мм

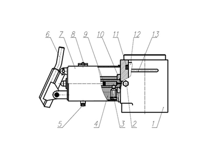
СХЕМА, УСТРОЙСТВО И РАБОТА ДОМКРАТА ГИДРАВЛИЧЕСКОГО ДГ-50

Корпус (10) с грузоподъемным поршнем (12). Резиновая манжета (11) и защитное кольцо. Ручки (13) для переноски. Масляный бак (7) с одноплунжерным гидронасосом и предохранительным клапаном. Перепускной клапан (2) для сброса давления в гидроцилиндре и возвращения домкрата в исходное положение. Сапун (8) для заливки рабочей жидкости - минерального масла (4). Обратный клапан (3) и сетчатый фильтр. Пробка (5) для слива масла.

Подающееся с помощью гидронасоса, под давлением масло, поступает в полость корпуса и осуществляет подъем поршня.