item:
Сайт работает в тестовом режиме
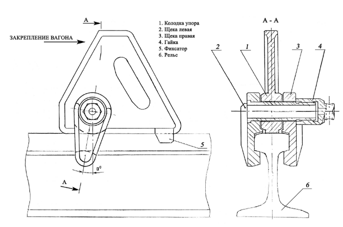
УСТРОЙСТВО ЗАКРЕПЛЕНИЯ ВАГОНОВ УЗ-220
УСТРОЙСТВО ЗАКРЕПЛЕНИЯ ВАГОНОВ УЗ-220 УСТРОЙСТВО ЗАКРЕПЛЕНИЯ ВАГОНОВ УЗ-220

Категория: Башмаки и тупиковые упоры

УСТРОЙСТВО ЗАКРЕПЛЕНИЯ ВАГОНОВ УЗ-220

Устройство закрепление вагонов УЗ-220 используется для закрепления подвижного состава на путях. Также оно монтируется перед тупиковым упором для избежание выезда состава на насыпную призму в тупике. Максимальный вес состава для использования устройства – 1 000 тн, оно подходит для рельсов Р-65 и Р-50. Технические характеристики устройства закрепления вагонов уз-220: вес — 11 кг; габаритные размеры без ключа — 255×192×202 мм; макс. усилие удержания: при нагрузке на ось вагона более 10 тс — 12 тс; при нагрузке на ось вагона не более 10 тс — 6,5 тс; возвышение над уровнем головки рельса — 220 мм; максимальный допустимый вертикальный износ головки рельса — 10 мм.

Для получения информации о наличии и условиях поставки свяжитесь с нами:
📞 +998 88 566 33 33   |   ✉ remar.tools@gmail.com
← Вернуться в каталог